?!DOCTYPE html PUBLIC "-//W3C//DTD XHTML 1.0 Transitional//EN" "http://www.w3.org/TR/xhtml1/DTD/xhtml1-transitional.dtd">
名称QSSJB-3QBY)型压盖式限位伸羃接头
标签Q?/strong>SSJB-3QBY)型压盖式限位伸羃接头
SSJB-3QBY)型压盖式限位伸羃接头是由村֥伸羃接头和两个限位短组合而成。压盖限位~接头能防止道因超量位Ud致补偿接头的泄漏和损坏,压盖限位伸羃接头主要用于在允怽U范围内吸收轴向位移和承受u向压力推?
SSJB-3QBY)型压盖式限位伸羃接头标准QGB/T12465-2002)或BYQGB/T12465-2007)?/p>
SSJB-3QBY)型压盖式限位伸羃接头是由村֥伸羃接头和两个限位短组合而成。压盖限位~接头能防止道因超量位Ud致补偿接头的泄漏和损坏,压盖限位伸羃接头主要用于在允怽U范围内吸收轴向位移和承受u向压力推力的道村֥q接?/p>
SSJB-3QBY)型压盖式限位伸羃接头的优点:伸羃量大Q安装简单方便,使用寿命长(使用寿命长达10Q?0q_l修方便?/p>
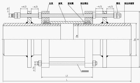
SSJB-3QBY)型压盖式限位伸羃接头的特点:压盖限位伸羃接头道两边以焊接的方式q接?/p>

SSJB-3QBY)型压盖式限位伸羃接头性能特点Q?/strong>
SSJB-3QBY)型压盖式限位伸羃接头是我公司在吸收先辈技术的基础上,l合实际需要研制开发的一U新型管道连接器Q品结构设计合理,密封性能可靠Q两端采用承插连接,安装Q拆卸方ѝ适合q接输送水、a、气及颗_粉状物的钢、铸铁管、球墨铸铁管、PAC、ABS等Q连接的同时能补偿管道的轴向位移及一定量的挠曲和偏心?/p>
SSJB-3QBY)型压盖式限位伸羃接头是在村֥伸羃接头原有基础上,增设限位装置Q在较大伸羃量处用双螺母锁定Q这样就实现道在允许的伸羃量中可以自由伸羃Q一旦超q其较大伸羃量,pv到限位,q样就有效的确保管道的安全q行Q特别适用于有震动或有一定斜度及在拐弯的道中的q接?/p>
SSJB-3QBY)型压盖式限位伸羃接头安装Ҏ(gu)Q压盖限位~接头两边均与管道焊接,压盖限位伸羃接头在安装时村ּ压盖螺母Q调整至安装长度后把两端的短与道焊接Q最后用对角法均匀拧紧螺母Q调整好防脱螺母卛_?nbsp;
SSJB-3QBY)型压盖式限位伸羃接头h良好的综合性能Q所以它q泛用于化工、徏{、给水、排水、石沏V轻重工业、冷内R卫生、水暖、消阌Ӏ电(sh)力等基础工程?/p>
SSJB-3QBY)型压盖式限位伸羃接头材料?/strong>
序号 | 名称 | 数量 | 材料 |
1 | 压盖 | 2 | QT400-15、Q235A、ZG230-450?0 |
2 | 套筒 | 1 | Q235A?0?6Mn |
3 | 密封?/div> | 2 | NBR |
4 | 限位短管 | 2 | Q235A?0?6Mn |
5 | 螺母 | Tn | Q235A?5?Cr18Ni9Ti |
6 | 长螺?/div> | n | Q235A?5?Cr18Ni9Ti |
7 | 螺柱 | n | Q235A?5?Cr18Ni9Ti |
如需最新数据请联系在线客服
沛_良众业有限公司 手机P18638277136 Q?371-64018718 传真Q?nbsp;0371-64018718 邮箱Q?50165323@qq.com 地址Qm义市西村镇西?nbsp; |址Q?a href="http://www.generationapp.cn" target="_self">http://www.generationapp.cn