?!DOCTYPE html PUBLIC "-//W3C//DTD XHTML 1.0 Transitional//EN" "http://www.w3.org/TR/xhtml1/DTD/xhtml1-transitional.dtd">
名称QC2F型双法兰村֥传力接头
标签Q?/strong>C2F型双法兰村֥传力接头
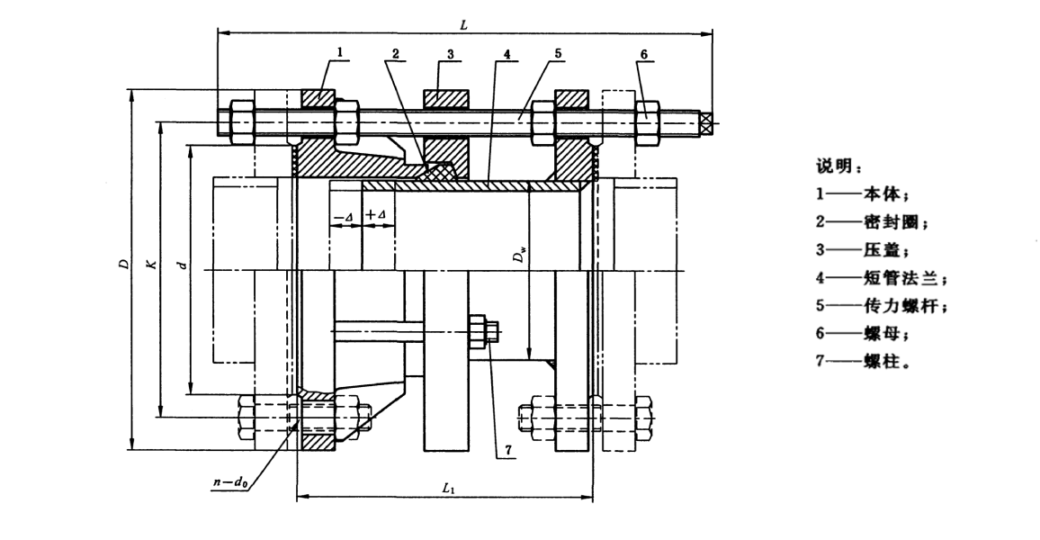
C2F型双法兰村֥传力接头Q是由法兰松套~接头和短管法兰、传力螺杆等构gl成Q能降低被连接g的压力推力(盲板力)和补偿管路安装误差,双法兰松套传力接头不能吸收u向位UR双法兰村֥传力接头主要用于c阀门?

双法兰松套传力接头性能特点Q?/strong>
村֥传力接头是在法兰村֥补偿接头的基上增设法兰短及传力螺杆而成Q次cd的补偿接头与村֥补偿接头和松套限位补偿接头不同的是它的补偉K是指在安装及拆卸q程中的调节量,一旦将所有的螺母拧紧Q它是刚性连接的Q可以传递u心力Q从而保护阀门、܇{设备?/p>
双法兰松套传力接头安装说?/strong>
双法兰松套传力接头适用两边都是法兰的连接方式,安装时调节品两端与道或法兰的安装长度Q安装和焊接完毕后,对角依次均匀拧紧压盖螺栓Q其成Z个整体,q有一定的位移量,方便安装l修Q可Ҏ(gu)现场寸q行调整。在工作时可以把轴向推力传递至整个道?/p>
村֥传力接头的材质:主要有Q235钢、不锈钢、铸钢、球墨铸铁等。不同的用途选用不同的材质和型号?/p>
村֥传力接头分类有:单发兰松套传力接头、双法兰村֥传力接头、可拆式双法兰松套传力接头?/p>
双法兰松套传力接头适用范围Q?/strong>
双法兰松套传力接头适用于输送v水、E水、冷热水、饮用水、生zL水、原沏V燃沏V润滑a、成品a、空气、煤气、温度不高于250度的蒸汽和颗_粉状等介质?/p>
公称通径 QN | 子外径 Dw | 法兰q接寸 | 密封?/span> d | 总长 L | 安装 寸 L1 | 调节?span style="color: rgb(255, 255, 255); font-family: 微Y雅黑,Microsoft YaHei; font-size: 20px;">?/span> | 质量 kg | ||||
法兰 外径 D | 螺栓孔中心圆直径 K | 螺栓 孔径 d0 | 螺栓 | ||||||||
| nQ个Q?/span> | Th. | ||||||||||
65 | 76 | 160 | 130 | 14 | 4 | M12 | 110 | 290 | 200 | 20 | 11.8 |
80 | 89 | 190 | 150 | 18 | M16 | 128 | 330 | 13.5 | |||
100 | 114 | 210 | 170 | 148 | 18.6 | ||||||
125 | 140 | 240 | 200 | 8 | 178 | 23.8 | |||||
150 | 168 | 265 | 225 | 202 | 30.4 | ||||||
200 | 219 | 320 | 280 | 258 | 36.9 | ||||||
250 | 273 | 375 | 335 | 12 | 312 | 49.6 | |||||
300 | 325 | 440 | 395 | 22 | M20 | 365 | 370 | 220 | 25 | 61.5 | |
350 | 377 | 490 | 445 | 415 | 79.3 | ||||||
400 | 426 | 540 | 495 | 16 | 465 | 91.2 | |||||
450 | 480 | 595 | 550 | 520 | 104.1 | ||||||
500 | 530 | 645 | 600 | 20 | 570 | 123.2 | |||||
600 | 630 | 755 | 705 | 26 | M24 | 670 | 400 | 240 | 169.8 | ||
700 | 720 | 860 | 810 | 24 | 775 | 208.9 | |||||
800 | 820 | 975 | 920 | 30 | M27 | 880 | 540 | 350 | 30 | 346.1 | |
| 900 | 920 | 1075 | 1020 | 980 | 380.6 | ||||||
| 1000 | 1020 | 1175 | 1120 | 28 | 1080 | 438.8 | |||||
| 1200 | 1220 | 1405 | 1340 | 33 | 32 | M30 | 1295 | 580 | 370 | 646.7 | |
| 1400 | 1420 | 1630 | 1560 | 36 | 36 | M33 | 1510 | 843.6 | |||
| 1600 | 1620 | 1830 | 1760 | 40 | 1710 | 600 | 380 | 1189.7 | |||
| 1800 | 1820 | 2045 | 1970 | 39 | 44 | M36 | 1920 | 1394.8 | |||
| 2000 | 2020 | 2265 | 2180 | 42 | 48 | M39 | 2125 | 660 | 400 | 1665.5 | |
| 2200 | 2220 | 2475 | 2390 | 52 | 2335 | 2056.7 | |||||
| 2400 | 2420 | 2685 | 2600 | 56 | 2545 | 2350.1 | |||||
| 2600 | 2620 | 2905 | 2810 | 48 | 60 | M45 | 2750 | 750 | 450 | 40 | 2720.4 |
| 2800 | 2820 | 3115 | 3020 | 64 | 2960 | 3053.2 | |||||
| 3000 | 3020 | 3315 | 3220 | 68 | 3160 | 3460.3 | |||||
| 3200 | 3220 | 3525 | 3430 | 72 | 3370 | 3912.6 | |||||
| 3400 | 3420 | 3735 | 3640 | 76 | 3580 | 4122.0 | |||||
| 3600 | 3620 | 3970 | 3860 | 56 | 80 | M52 | 3790 | 4460.0 | |||
如需最新数据请联系在线客服
沛_良众业有限公司 手机P18638277136 Q?371-64018718 传真Q?nbsp;0371-64018718 邮箱Q?50165323@qq.com 地址Qm义市西村镇西?nbsp; |址Q?a href="http://www.generationapp.cn" target="_self">http://www.generationapp.cn